Nguồn gốc phát sinh nước thải sản xuất thuốc bảo vệ thực vật
Nước thải sản xuất thuốc bảo vệ thực vật chủ yếu phát sinh từ quá trình sản xuất và sinh hoạt của công nhân:
- Nước thải từ quá trình vệ sinh thiết bị, máy móc và nhà xưởng thường chứa các hợp chất có trong thành phần thuốc trừ sau như carbonat hữu cơ, phosphat hữu cơ,… các dung môi như xylen và các chất phụ gia như keo, cát,…
- Nước thải từ quá trình rửa chai, bao bì và thùng chứa. Đối với các chai đã qua một lần sử dụng, doanh nghiệp sẽ mua lại từ các nguồn hàng để tái sử dụng. Các chai này được vệ sinh sạch trước khi sử dụng và sẽ làm phát sinh một lượng nước thải, và lượng nước thải này chỉ mang tính chất thời vụ.
- Nước thải sinh hoạt của công nhân và nước thải sau bể tự hoại.
Đặc điểm của nước thải sản xuất thuốc BVTV
Thuốc bảo vệ thực vật là chất hoặc hỗn hợp các chất hoặc chế phẩm vi sinh vật có tác dụng phòng ngừa, ngăn chặn, xua đuổi, dẫn dụ, tiêu diệt hoặc kiểm soát sinh vật gây hại thực vật; điều hòa sinh trưởng thực vật hoặc côn trùng; bảo quản thực vật; làm tăng độ an toàn, hiệu quả khi sử dụng thuốc.
Thuốc BVTV có nhiều loại như thuốc trừ sâu bệnh, thuốc trừ cỏ, thuốc diệt nấm, côn trùng, thuốc kích thích tăng trưởng,…. Mỗi quy trình sản xuất các loại thuốc BVTV là khác nhau. Nhìn chung, nước thải sản xuất thuốc BVTV phát sinh từ các nguồn sau:
- Nước thải từ quá trình vệ sinh máy móc, nhà xưởng sản xuất.
- Nước thải từ quá trình vệ sinh chai lọ, thùng chứa nguyên phụ liệu.
Tính chất của nước thải sản xuất thuốc BVTV chứa các chất hữu cơ mạch vòng khó phân hủy, dung môi hữu cơ, cacbon hữu cơ, photpho hữu cơ, các chất phụ gia.
Các thành phần nước thải sản xuất thuốc bảo vệ thực vật
|
Chỉ tiêu |
Đơn vị |
Nước thải sản xuất |
Nước thải sau trộn HTXLNT |
|
pH |
- |
9,21 |
6,5 - 7,5 |
|
SS |
mg/l |
286 |
57,2 |
|
COD |
mgO2/l |
3808 |
761,5 |
|
BOD5 |
mgO2/l |
763 |
252 |
|
N tổng |
mg/l |
279 |
55,8 |
|
P tổng |
mg/l |
0,24 |
0,048 |
|
Dầu tổng |
mg/l |
15 |
3 |
|
Chất hoạt động bề mặt |
mg/l |
0,206 |
0,0412 |
|
Colifom |
MPN/100ml |
<3 |
<3 |
|
Hóa chất BVTV: Carbaryl Carbofuran |
mg/l |
KPH |
KPH |
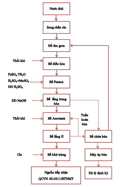
Thuyết minh quy trình xử lý nước thải sản xuất thuốc BVTV

Đầu tiên, nước thải sản xuất thuốc BVTV được thu gom đưa về hố gom. Trước hố gom có bố trí song chắn rác để tách các thành phần có kích thước lớn để bảo vệ máy bơm và các công trình phía sau.
Bước 1: Bể điều hòa
Từ hố gom nước thải được đưa về bể điều hòa. Bể điều hòa được có chức năng điều hòa về lưu lượng, nồng độ các chất ô nhiễm có trong nước thải. Trong bể điều hòa, hệ thống sục khí sẽ xáo trộn đều nước thải nhằm ổn định nồng độ các hợp chất ô nhiễm trong nước thải, tránh trường hợp các chất rắn lắng xuống đáy phân hủy yếm khí tạo ra mùi hôi và màu của nước. Từ bể điều hòa nước thải được đưa về bể Fenton.
Bước 2: Bể Fenton
Đầu tiên, khởi động máy khuấy, sau đó châm các hóa chất lần lượt là H2SO4, FeSO4, H2O2. Trước tiên pH của nước được hạ xuống khoảng 2,5 < pH < 3 bằng axit H2SO4. Sau đó, một lượng Fe2+, H2O2 được châm vào khuấy đều trong 3 giờ.
Trong giai đoạn phản ứng ô-xy hóa xảy ra sự hình thành gốc *OH hoạt tính và phản ứng ô-xy hóa chất hữu cơ. Cơ chế hình thành gốc *OH hiện nay chưa thống nhất, theo Fenton thì sẽ có phản ứng:
Fe2+ + H2O2 --> Fe3+ +*OH + OH–.
Gốc *OH sau khi hình thành sẽ tham gia vào phản ứng ô-xy hóa các hợp chất hữu cơ có trong nước cần xử lý, chuyển chất hữu cơ từ dạng cao phân tử thành các chất hữu cơ có khối lượng phân tử thấp.
CHC (cao phân tử) + *HO --> CHC (đơn giản) + CO2 + H2O + OH-
Sau khi xảy ra quá trình ô-xy hóa cần nâng pH dung dịch lên >7 bằng cách châm Ca(OH)2 vào để thực hiện kết tủa Fe3+ mới hình thành:
Fe3+ + 3OH- --> Fe(OH)3
Kết tủa Fe(OH)3 mới hình thành sẽ thực hiện các cơ chế keo tụ, đông tụ, hấp phụ một phần các chất hữu cơ chủ yếu là các chất hữu cơ cao phân tử. Từ bể Fenton nước thải được đưa qua bể lắng trung hòa.
Bước 3: Bể lắng trung hòa
Bể lắng có nhiệm vụ tách các bông cặn sinh ra từ quá trình Fenton. Đồng thời tại đây nước thải sẽ được điều chỉnh pH về trung tính để tiếp tục công đoạn xử lý tại bể sinh học.
Bước 4: Bể Aerotank
Tại đây, các chất hữu cơ có trong nước thải được phân hủy thành sinh khối, nước, khí CO2 bằng các vi sinh vật hiếu khí. Oxy được sục vào bể liên tục bằng máy thổi khí nhằm tạo điều kiện thuận lợi cho quá trình hoạt động của các vi sinh vật.
Quá trình phân hủy các chất hữu cơ diễn ra theo phương trình phản ứng sau:
CHC + VSV hiếu khí + O2 --> H2O + CO2 + sinh khối mới
Hiệu suất xử lý COD, BOD của bể Aerotank đạt khoảng 85 – 90%.
Bước 5: Bể lắng 2
Sau khi qua bể Aerotank, nước thải được đưa về bể lắng 2 để lắng bùn sinh học. Bùn sinh học được tuần hoàn về bể Aerotank duy trì sinh khối cho vi sinh trong bể. Phần bùn còn lại được bơm về bể chứ bùn để xử lý theo đúng quy định.
Bước 6: Bể khử trùng
Cuối cùng, nước thải được đưa đến bể Khử trùng. Tại đây, hóa chất clorin được châm vào để tiêu diệt các vi khuẩn có hại trong nước thải.
Nước thải sản xuất thuốc BVTV sau xử lý đạt QCVN 40:2011/BTNMT.
Tại sao lựa chọn hệ thống xử lý nước thải tại Cao Nam Phát?
- Tư vấn & thiết kế chuẩn xác
- Quy mô công suất đa dạng: 2m3, 5m3...20m3, 70m3, 100m3 /ngày
- Công nghệ hiện tại, tiên tiến từ USA, Châu âu
- Cam kết nguồn nước đầu ra theo quy chuẩn QCVN
- Hệ thống dễ dàng vận hành
- Dịch vụ bảo trì, bảo dưỡng định kỳ
Mọi chi tiết xin liên hệ Hotline: 0933.503.117 - 0907.839.717 để được tư vấn trực tiếp
CÔNG TY CỔ PHẦN TMDV KỸ THUẬT CAO NAM PHÁTVP trụ sở: 80/40G đường Bình Chiểu, khu phố 3, phường Bình Chiểu, TP Thủ Đức, TP Hồ Chí Minh
Chi nhánh miền nam: 93 Đường ĐT 743C, KP Đông Tân - P.Dĩ An - TP Dĩ An, T. Bình Dương
Chi nhánh miền trung: Km 26 QL 1A, Đông Lâm, Phong An, Phong Điền,Thừa Thiên Huế
Hotline/Zalo: 0933 503 117 - 0907.839.717
Email: congtycaonamphat@gmail.com
Từ Khóa: Hệ Thống Lọc Nước | water treatment system | ប្រព័ន្ធចម្រោះទឹក។ | ລະບົບການກັ່ນຕອງນ້ໍາ



